
2025年上半年,福建A股上市公司的整體經營業績保持穩定增長態勢。Choice數據顯示,173家福建A股上市公司(*ST紫天除外)實現營業收入共計15589.47億元,同比下降0.86%;歸母凈利潤共計1338.15億元,同比增長18.76%。
截至8月31日,*ST紫天(300280.SZ)仍未發布半年報。今年5月*ST紫天因財務會計報告存在虛假記載被實施退市風險警示,并于7月21日起停牌。因此,本文以下統計數據除了股價及市值外,均不含*ST紫天。
報告期內,173家福建A股上市公司中,有140家福建A股上市公司凈利潤為正,占比81.40%,其中77家公司實現增收又增利。半年報中,福建A股上市公司透露了哪些重要信息?【觀瀾財經】獨家對此進行了統計梳理。
01.
新增一家上市公司,華電新能市值超2700億
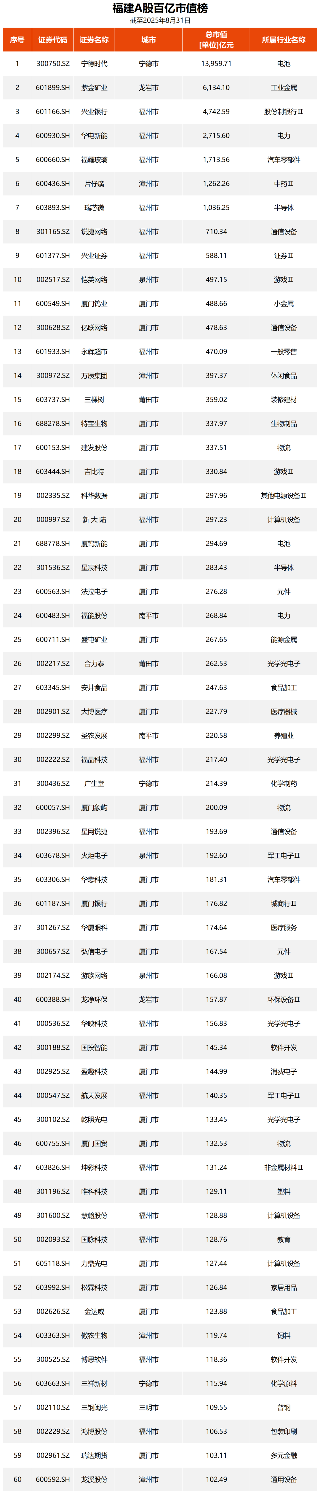
截至8月31日,福建A股上市公司173家總市值超4.78萬億元。其中上交所主板61家,深交所主板53家,深交所創業板47家,上交所科創板8家,北交所4家。
今年以來,福建A股上市隊伍僅新添加一位新成員,來自福州的華電新能(600930.SH)也發布了首份半年報。華電新能(600930.SH)在7月16日正式登陸上海證券交易所主板,華電新能發行價為3.18元/股,超額配售選擇權全額行使后的發行股數為57.14億股。
華電新能是中國華電集團直屬的全資平臺,也是集團整合風電、太陽能等新能源業務后的唯一上市主體,業務層面以開發、投資和運營風電與光伏為主,同時可能涉及包括生物質、地熱等新能源形式。
8月26日,華電新能(600930)披露2025年半年報,上半年實現營業收入199.97億元,同比增長15.8%;歸母凈利潤62.4億元,同比增長0.29%。
02.
營收榜:老面孔新格局,寧德時代勇奪第三
根據福建A股企業半年報數據顯示,目前福建千億營收俱樂部成員共有6家,依次為建發股份(600153.SH)、廈門象嶼(600057.SH)、寧德時代(300750.SZ)、紫金礦業(601899.SH)、廈門國貿(600755.SH)、興業銀行(601166.SH)。
過去,營收榜單的前三甲常年由廈門三大國企建發股份、廈門國貿、廈門象嶼包攬。然而今年這一格局松動,榜單前五的排序發生了明顯變化。寧德時代登上總營收第三的位置,紫金礦業位列第四,廈門國貿則居第五。
其中,建發股份蟬聯“營收王”,營業總收入同比下降-1.16%,達3151.21億元;廈門象嶼位居第二,營業總收入達2039.48億元,同比增加0.23%;寧德時代今年上半年,公司營業總收入為1788.86億元,較去年同期上漲7.27%;廈門國貿上半年營業總收入為1516.6億元,同比下降22.3%,主要是由于其供應鏈管理業務面臨外部環境復雜多變的挑戰,導致部分品類的業務規模有所下降。
此外,永輝超市(601933.SH)、萬辰集團(300972.SZ)、三鋼閩光(002110.SZ)等11家企業實現營收超百億。在福建A股百億營收俱樂部中,不少成員都有新變化。
永輝超市正在經歷轉型陣痛,今年上半年,公司實現營收299.48億元,同比下降20.73%,歸母凈虧損為2.41億元,去年同期凈利潤則為2.75億元,凈利潤減少了5.16億元。公司在報告中解釋,這是由于公司2024年下半年開啟整體戰略與經營的深度轉型工作,關閉長期經營虧損門店以及門店調改期歇業等因素所致。
自從轉型量販零食業務后,萬辰集團營業收入開啟狂飆,上半年公司實現營業收入225.83億元,同比增長106.89%。萬辰集團表示,今年上半年,公司專注于量販零食業務和食用菌業務發展,門店數量快速增加、經營效率穩步提升,品牌勢能逐步累積,助推業績增長。而萬辰集團也在今年躋身“2025年中國民營企業500強”、“2025年中國服務業民營企業100強名單”。
03.
凈利潤榜:興業銀行蟬聯“賺錢王”,12家企業歸母凈利潤超10億
在凈利潤方面,2025年上半年度有12家福建A股上市公司的歸屬母公司股東凈利潤超10億元。興業銀行(601166.SH)蟬聯福建A股上半年最賺錢的企業,歸屬于母公司股東的凈利潤達431.41億元。
寧德時代(300750.SZ)排名第二,歸母凈利潤為304.85億元,較去年同期上漲33.33%。寧德時代分紅也十分大方,8月13日發布《寧德時代:2025年中期分紅A股實施公告》,公司擬向全體股東每10股派發現金分紅人民幣10.07元(含稅)。
紫金礦業(601899.SH)以150.84億元的歸母凈利潤位列第三,歸母凈利潤同比增長54%。報告期內,紫金礦業(601899.SH)業績飆升的原因在于主要礦產品產量的提高,尤其是礦產銅、礦產金兩大礦產品在2025年上半年產量分別同比增長10%、17%,踩中上半年國際銅價、金價持續高位運行的節奏。
04.
營收、凈利潤增速榜:實達集團靠AI算力營收飆升,萬辰集團賣零食歸母凈利起飛
在營業收入同比增速方面,實達集團(600734.SH)、鴻博股份(002229.SZ)、恒鋒信息(300605.SZ)位列前三。不過值得注意的是,榜單中有部分企業是因為2024年中報營業收入總體規模基數小,而2025上半年營收可觀,從而產生較大同比增長率。
實達集團營業收入同比增長率達217.87%,營業總收入為1.06億元,由大數據業務帶動增長。報告期內,公司大數據業務實現營業收入1.04億元,占總收入98.41%,繼去年承接新疆克拉瑪依克融云智算中心一期二標段、福州鼓樓智算中心二期等重點項目后,今年公司還參與克拉瑪依克融云智算中心(一期)增配項目建設。但由于業務規模擴張尚未能轉化為利潤,成本激增676.98%達1.03億元,報告期內歸母凈利潤虧損5551萬元,同比下降208.2%。
鴻博股份上半年營業收入為7.90億元,同比增長197.92%。主要系公司新設立AI算力業務帶動整體營收增長,報告顯示AI算力業務營收59.45億元(上年同期為0),占比72.25%,老牌業務印刷業營收僅為1.83億元(同比降低17.49%),其他業務營收為0.13億元。
恒鋒信息上半年實現營業總收入2.68億元,同比增長150.08%。營收大幅增長主要由于“本期驗收項目增加所致”,報告提到,公司在智慧城市、公共安全等領域有多個大型項目在報告期內完工并確認收入,智慧城市信息服務收入2.07億元,同比增長255.50%,占營收總額77.12%,軟件開發收入達1095.48萬元,同比增長177.61%。
歸母凈利潤同比增速榜單,同樣存在“小基數”造就“大增速”的情況。整體來看,上半年萬辰集團(300972.SZ)、游族網絡(002174.SZ)、圣農發展(002299.SZ)三家企業歸母凈利潤增速超500%;青松股份(300132.SZ)、九牧王(601566.SH)、德藝文創(300640.SZ)、欣賀股份(003016.SZ)、鴻博股份(002229.SZ)等5家企業歸母凈利潤增速均在200%以上;共有25家福建A股上市公司歸母凈利潤增速超100%。
同樣在2025年上半年實現凈利潤巨幅增長的還有游族網絡(002174.SZ),報告期內,公司實現營業收入6.88億元,歸屬于上市公司股東的凈利潤5,015.53萬元,同比增長989.31%。報告期內,公司持續推進“全球化卡牌+”戰略,旗下《少年三國志》系列、《少年西游記》等“卡牌”玩法游戲產品以及《權力的游戲:凜冬將至》等SLG玩法游戲產品,通過精細化運營穩定貢獻流水。此外,公司加強成本費用管控,廣告投放更加精準,期間費用同比下降。非經常性收益較上年同期大幅上升,主要來源于金融資產公允價值變動。
圣農發展(002299.SZ)報告顯示,公司上半年營業收入為88.56億元,同比增長0.22%;歸母凈利潤為9.10億元,同比增長791.93%。報告期內,圣農發展通過成本管控、并購并表等多方面,實現凈利大幅增長。報告期內,綜合造肉成本較去年同期下降超10%,是自研種雞帶來的成本優勢。并購參股公司安徽太陽谷后公允價值重估影響較大,扣除非經常性損益后,凈利潤為3.76億元,同比增長305.44%。
05.
總市值榜:千億市值俱樂部新增兩名成員,60家市值超百億
在市值層面(截止8月31日),寧德時代(300750.SZ)以約1.4萬億市值依舊遙遙領先。紫金礦業(601899.SH)、興業銀行(601166.SH)、福耀玻璃(600660.SH)、片仔癀(600436.SH)是千億市值俱樂部的熟面孔。新面孔則是“大塊頭”華電新能(600930.SH)和瑞芯微(603893.SH),以不俗的市場表現,進入福建上市公司千億市值俱樂部。至此,福建千億市值俱樂部擴容到8家,梯度分布也更為合理。
整體來看,福建A股上市公司中有60家市值超百億,其中廈門市占26家,福州市17家,漳州市4家,泉州、寧德各3家,龍巖、南平、莆田各2家,三明市有1家。
06.
區間漲幅榜:廣生堂3倍漲幅居首
2025年1月1日至2025年8月31日,福建A股企業股價漲勢喜人,從區間漲跌幅來看,有142家福建A股企業股價都呈上升態勢,173家福建A股企業平均區間漲跌幅達到33.45%。
其中,廣生堂(300436.SZ)以313.03%的區間漲幅位居福建A股第一,其次路橋信息(837748.BJ)、唯科科技(301196.SZ)、萬辰集團(300972.SZ)、龍溪股份(600592.SH)四家企業的區間漲幅分別達235.55%、213.60%、163.40%、159.62%。
整體而言,股價區間漲幅超100%的有14家、超50%的有46家。
07.
分紅榜:紫金礦業分紅58億
截至目前,福建轄內共有27家A股上市公司宣告2025年中期分紅,共擬分紅165.01億元。其中,分紅最慷慨的依然是吉比特,而從派發總額來看,紫金礦業分紅最多。
8月19日,吉比特發布2025年半年度利潤分配方案公告稱,公司擬向全體股東每10股派發現金紅利66.00元(含稅)。截至2025年8月19日,公司總股本為72041101股,合計擬派發現金紅利4.74億元(含稅),占2025年半年度合并報表歸屬于母公司股東的凈利潤的比例為73.46%。
8月27日,紫金礦業發布2025年中期利潤分配方案公告,公司的總股份數為26577573940股,以此計算擬派發現金紅利人民幣58.47億元(含稅)。
08.
結語
根據上市公司所在注冊地統計,目前廈門共有68家A股上市公司,數量位列全省第一,福州市擁有56家上市公司位居第二,排名第三的是泉州市共有19家。此外,南平市擁有8家;龍巖市7家;漳州市為6家;寧德市有4家;莆田、三明各為3家。
近年來,廈門市委、市政府高度重視企業上市工作,不斷加強上市后備企業培育,持續推動企業利用多層次資本市場發展壯大,助力企業駛入資本市場快車道,引領和帶動區域經濟實現高質量發展。
觀 瀾 財 經
GRAND FINANCE
海棠鷺鳴,潮創未來!第七屆天津大學“海棠杯”校友創新創業大賽廈門賽區決賽圓滿收官
限量席位開放!第七屆“海棠杯”校友創新創業大賽廈門賽區決賽即將啟幕
---內容覆蓋百余萬讀者---
評論
文章評論(0)